В Сети появились чертежи нового iPhone от компании Apple, которая обновила свой старый патент от 2011 года на устройство с гибким экраном, передает Tengrinews.kz со ссылкой на портал Astera.
Компания Apple обновила старый патент от 2011 года, который уже обновляли в 2016 году. Сейчас вышло дополнение к нему.
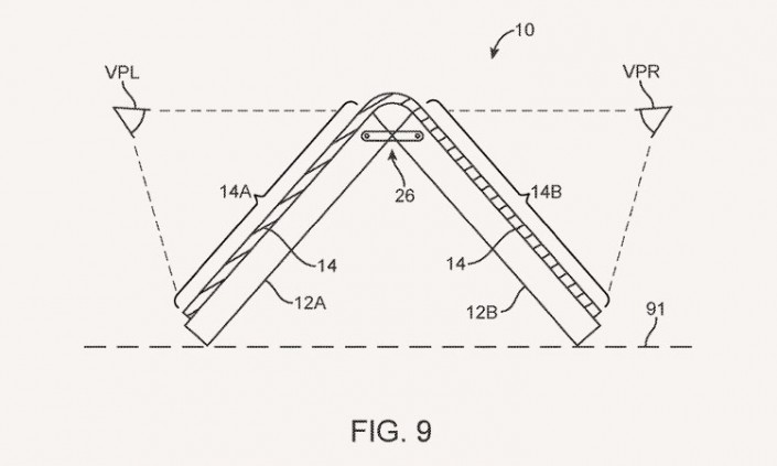
В патенте компания показывает устройство, которое складывается вдвое, причем в нем установлен гибкий экран. В раскрытом состоянии гаджет по размерам сопоставим с планшетом.

В сложенном виде устройство не больше, чем смартфон. Раскладывать устройство можно под разными углами, причем его можно раскрыть как внутрь, так и наружу. К примеру, его можно разместить на столе, и каждый будет в отдельности видеть свою картинку.

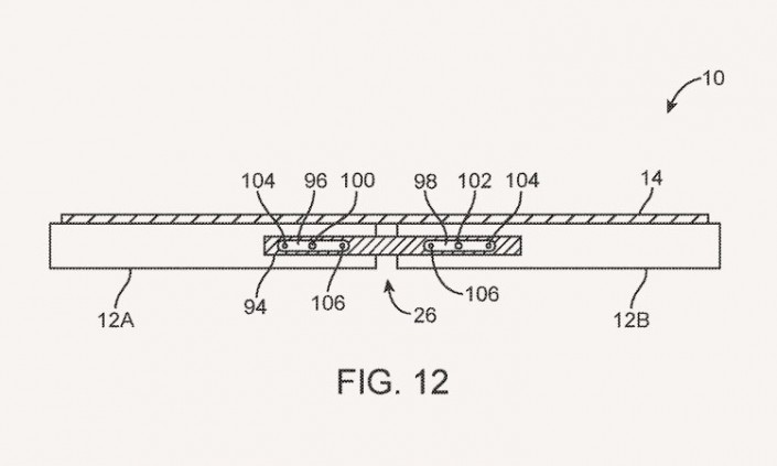
Особое внимание Apple уделила различным способам установки шарниров и корпуса вокруг гибкого OLED-дисплея в местах изгибов.
