Специалисты Apple изобрели "сумку"

Ажар Аширова
Ажар Аширова корреспондент

ПОДЕЛИТЬСЯ

Специалисты Apple изобрели "сумку" © AP Photo/ Mark Lennihan

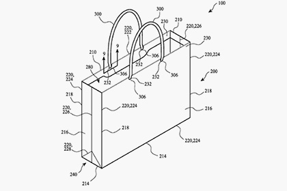
Компания Apple запатентовала обыкновенный бумажный пакет с гибкими ручками. Об этом говорится на сайте US Patent and Trademark Office.


Компания Apple запатентовала обыкновенный бумажный пакет с гибкими ручками. Об этом говорится на сайте US Patent and Trademark Office.

Как выяснилось, патентная заявка была подана в марте этого года, однако стала доступна общественности только сейчас. В Apple называют свое новое изобретение просто "сумкой". Оно лишено каких-то высокотехнологичных приспособлений, вроде встроенного аккумулятора или Bluetooth-соединения.

"Раскрывающийся бумажный пакет. Он может включать в себя контейнер, выполненный из твердой выбеленной бумаги и состоящий по меньшей мере на 60 процентов из перерабатываемых материалов", - говорится в заявке. Ручка пакета выполнена из бумажных волокон.

Фото с сайта pdfaiw.uspto.gov

Как утверждают авторы патента, большинство нынешних бумажных пакетов состоят менее чем на 50 процентов из перерабатываемых материалов, тогда как пакет Apple гораздо экологичнее.

 

Tengrinews
Читайте также

Курс валют

 481.88   556.79   5.72 

 

Погода

Алматы
А
Алматы 14
Астана -6
Актау 6
Актобе 1
Атырау 7
Б
Балхаш 6
Ж
Жезказган 1
К
Караганда 1
Кокшетау -1
Костанай 14
Кызылорда 0
П
Павлодар 1
Петропавловск -1
С
Семей 12
Т
Талдыкорган 12
Тараз 15
Туркестан 0
У
Уральск 4
Усть-Каменогорск 16
Ш
Шымкент 3

 

Редакция Реклама
Социальные сети